When the source 3D model changes, model documentation drawing views don't reflect the changes until they are updated.
When Auto Update is on, (VIEWUPDATEAUTO system variable = 1), drawing views update automatically:
When Auto Update is off (VIEWUPDATEAUTO system variable = 0), drawing views don't update automatically. Drawing views that need updating are highlighted by red markers. A balloon notification on the system tray pops up to inform you that the model has changed. Thereafter you must explicitly update the out of date drawing views.

Depending on the change in the source model, drawing views may grow or shrink. There are two ways by which you can anchor a view in the drawing.

You can choose to center justify the view, so that the view grows or shrinks about its center.

You can also choose the “fixed” option, which forces unchanged model geometry to remain in the location it was prior to the update operation. Often, this is preferred as less shift occurs.
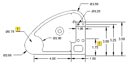
When an update event removes an edge an annotation is attached to, the annotation loses associativity. You can track annotations that lose associativity with the help of the annotation monitor.
The annotation monitor is a service that monitors the state of health of annotations. When an update event causes annotations to lose associativity, a balloon notification indicates the number of affected annotations and the annotation monitor tray icon changes from
to
. Furthermore, the annotation monitor displays a badge near the affected annotations.

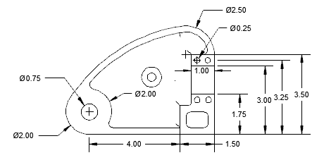
Before update event

After update event
Clicking a badge, displays a menu that contains options specific to the corresponding disassociated annotation. If you turn the annotation monitor off, the badges disappear.